KAT減速機系列斜齒輪-弧齒錐齒輪減速電機的產品簡介及使用范圍
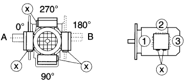
KAT減速機系列斜齒輪弧齒錐齒輪減速電機安裝形式圖例
各種安裝形式定義為:

GK減速機/GKAB減速機系列斜齒輪弧齒錐齒輪減速電機安裝形式圖

GKF減速機/GKAF減速機系列斜齒輪弧齒錐齒輪減速電機安裝形式圖

GKAT減速機/GKA減速機系列斜齒輪弧齒錐齒輪減速電機安裝形式圖

GKAT減速機系列斜齒輪弧齒錐齒輪減速電機型號表示法及型號示例


GKAT減速機安裝尺寸圖/K型斜齒輪弧齒錐齒輪減速電機安裝結構圖尺寸

|
機型號
|
a4
|
β
|
C8
|
i
|
P
|
R
|
H0
|
d1
|
L
|
L2
|
|
GKAT37
|
23.5
|
60°
|
10
|
20
|
140
|
22.5
|
100-0.5
|
10.4
|
36
|
31
|
|
GKAT47
|
30
|
55°
|
12
|
20
|
160
|
22.5
|
112-0.5
|
10.4
|
36
|
31
|
|
GKAT57
|
40
|
55°
|
13
|
18
|
192
|
29
|
132-0.5
|
16.4
|
60
|
54
|
|
GKAT67
|
45
|
55°
|
13
|
25
|
200
|
29
|
140-0.5
|
16.4
|
60
|
54
|
|
GKAT77
|
52.5
|
60°
|
14
|
25
|
250
|
29
|
180-0.5
|
16.4
|
60
|
54
|
|
GKAT87
|
60
|
60°
|
16
|
30
|
300
|
41
|
212-0.5
|
25
|
80
|
72
|
|
GKAT97
|
70
|
50°
|
17
|
40
|
350
|
41
|
265-1
|
25
|
100
|
92
|
|
GKAT107
|
74
|
55°
|
20
|
45
|
450
|
41
|
315-1
|
25
|
100
|
92
|
|
機型號
|
a4
|
β
|
C8
|
i
|
P
|
R
|
H0
|
d1
|
L
|
L2
|
|
GKAT127
|
60
|
65°
|
45
|
7
|
550
|
70
|
375-1
|
40
|
126
|
110
|
|
GKAT157
|
50
|
70°
|
45
|
2
|
700
|
70
|
450-1
|
40
|
126
|
100
|